Direktlänk
  • Conrad
  • Mitt konto

    Logga in, registrera dig

  • Varukorgen

  • Aktuella kampanjer » Aktuella kampanjer »
  • Om Conrad
    Conrad - Your Sourcing Platform
    Kampanjer
    Nya produkter
    Nyheter & inspiration

    Egna varumärken

    Toolcraft
    Voltcraft
    Tru components
    Renkforce
    Speaka professional
    Sygonix
  • Tjänster

    Utvalda tjänster

    Orderstatus
    PCB-tjänst
    Nyhetsbrev
    Garanti
    Rabatt för skolor
    Kundservice
  • Inköp

    Allt för dina inköp

    eProcurement
    Offertförfrågan
    Schemalagda beställningar
    Direktbeställning
    Product on request-service
  • Våra produkter
  • Mitt konto
  • Inköpslista
  • Logga ut
Conrad
Start
Verktyg & verkstad Fästmaterial & monteringsmaterial Plugg

Fischer 090930 HM 5 x 65 S K NV Hålrumsplugg 65 mm 10 mm 1 set

EAN:
Fabrikatsnr.
Artikelnr.:
Metallexpander med infällbara vingar som säkerställer stabilt fäste i väggar, särskilt i hålrum.
Metallexpander med infällbara vingar som säkerställer stabilt fäste i väggar, särskilt i hålrum.
Förpackning med fyra fischer HM 5x65 S hålrumsdymlingar, M5-storlek, lämplig för gipsskiveväggar. Belastningsbar upp till 30 kg.
En duschdraperi av genomskinligt material hänger på silverfärgade ringar på en svart-vit randig stång.
Hylla med olika metallbehållare och glas. Behållarna varierar i storlek och form, några har röda eller gröna lock.
Borren tränger igenom perforerat material som utgör ett isolerskikt. Den röda pilen visar borrningsriktningen.
Diagram över ett förankringsfäste i en vägg. Ankaret spänns fast genom att dra en kil, vilket ger säkert fäste. En röd pilrörelse visar dragningsriktningen.
Diagram över en väggfäste med plugg och skruv, visar hur pluggen sprider sig mot väggen när skruven dras åt.
Illustrationen visar en skruv som skruvas genom två plattor. En pil anger rotationsriktningen för åtdragning.
En förankring med hålrumsankare är avbildad. En gängad bult dras åt genom att vridas för att säkra monteringen.
Teknisk ritning av en skruv och en plugg i en vägg. Pluggen är förankrad för att stabilisera skruven.
En pil visar en rörelse mot vänster som trycker ett objekt mot en prickig vägg.
En borr tränger igenom ett punkterat material från vänster till höger, understödd av en röd pil som pekar åt höger.
Illustration av en skruv med bultankare som skruvas in i en perforerad vägg. En pil visar riktningen för inskruvningen.
'Schema över en togglefäste i en vägg med en roterande pil som visar åtdragning av skruven.'
Tvärsnitt av en väggförankring med skruv och plugg i murverket. En pil visar rotationsriktningen för åtdragning.
Diagram över en väggförankring med skruv, plugg och fästelement, visar monteringen i en prickad vägg.
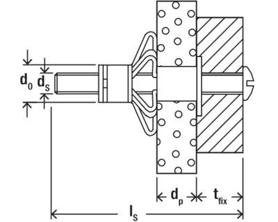
Teknisk ritning av ett fästningselement i en vägg. Dimensioner: d₀, dₛ, dₚ, tₚ, lₛ. Illustrerar inbyggnadsdjup och -position.
1/17
Fischer
Datablad (PDF)
Deutsch (Deutschland)
Leveransfre. 10 apr.

39 Set

Antal

Toal
52,00 kr
exkl. moms 
Rapportera juridiska problem
  • Över 750 000 produkter

  • Fri frakt över 999 kr

  • Offertförfrågan

  • Partneravtal

  • Teknik sedan 1923

  • Kundservice

  • Vanliga frågor (FAQ)

  • Kontakta oss

  • Köpvillkor

  • Frakt & leverans

  • Retur

  • Om Conrad

     

    • Om oss - Conrad Your Sourcing Platform

    • Nyheter och inspiration

    • Miljömedvetenhet

    • ISO-certificiering

    • Vulnerability Disclosure Program

    • REACH-information

    • Mässor och event

    • Information om tillgänglighet

    • Conrad tjänster

    • Offertförfrågan

    • eProcurement - inköpslösningar

    • Personliga produkter

    • Kalibrerat sortiment

    • Snabblänkar

    • Märken A-Z

    • Kategorier A-Ö

    • Aktuella erbjudanden 🛒

    • Download Center

    Nyhetsbrev

    Anmäl dig till vårt nyhetsbrev och få 10% i rabatt!*

    Anmäl dig till vårt nyhetsbrev och få 10% i rabatt!*

    Ange en giltig e-postadress!

    Kontorsprodukter
    * Rabatten gäller endast utvalda kontorsprodukter. Rabbatten är giltig till och med den 05.04.2026 på conrad.se. Kan inte kombineras med andra rabattkoder. 1 gång per företagskund/privatperson. I enskilda fall kan försäljningsmängden begränsas

    Betalningsmetoder
    • Creditcard
    • Klarna
    Sociala medier

    B2B-shop: Visning av priser exkl. moms och frakt.

    Alla priser är inkl. moms och frakt.

    • Skydd av personuppgifter

    • Säkra betalningsmetoder

    • SSL-kryptering

    • Säker kod för Verified Visa & Mastercard

    • Köpvillkor

    • Impressum

    •  

      Privacy policy

       

    • Trygg e-handel
    • Trygg e-handel
    Produktjämförelse
    Inköpslista